Ankündigung

Einklappen
Keine Ankündigung bisher.

Fahrzeugbreite

Einklappen
X
 
  • Filter
  • Zeit
  • Anzeigen
Alles löschen
neue Beiträge

  • Fahrzeugbreite

    Hallo zusammen.

    mich interessiert brennend, wie breit unser Auto eigentlich ist.
    Meine irgendwo gelesen zu haben, ca. 1.98 m inkl. Spiegel.
    Nun habe ich in einem alten Prospekt gesehen, dass der E83
    2,05 m breit ist. Hilfe!!!
    Das Problem ist, über 2 m Breite dürfte ich hier in der Gegend eigenlich
    einige Straßen nicht mehr benutzen, auch keine linke Spur bei
    Autobahnbaustellen (lt. ADAC müßen die Spiegel dazugerechnet werden).

    Weiß jemand etwas genaueres?
    Grüße aus dem Schwabenland
    Tatjana

  • #2
    AW: Fahrzeugbreite

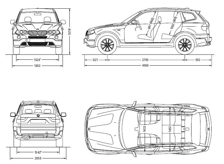
    1853 mm und die Spiegel werden NICHT hinzugerechnet.
    Ciao,
    Bernhard

    Kommentar


    • #3
      AW: Fahrzeugbreite

      Hi Bernhard,

      das dachte ich bis vor kurzem auch.

      Aber in der ADAC Motorwelt 02/2011 wurde erwähnt, dass es mit Spiegel gemessen wird. Kostet € 75,- plus 1 Punkt.
      Grüße aus dem Schwabenland
      Tatjana

      Kommentar


      • #4
        AW: Fahrzeugbreite

        Ein Bekannter hat den Fehler in einer Autobahnbaustelle auch schon begangen... Es kommt so wie X3 66 schon schrub
        Angehängte Dateien

        Kommentar


        • #5
          AW: Fahrzeugbreite

          Hi,

          jetzt meine Frage:
          der nicht-EU-Spiegel ist kleiner - wieviel? Reicht´s da noch?

          Muss ich auf der Autobahn den rechten Spiegel einklappen, wenn ich in der Baustelle links fahre oder darf ich dann gar nicht mehr links fahren
          Wenn ich die S-Klassen-Autos anschaue usw. dann sind die bestimmt auch alle breiter, dann ist die linke Spur in Baustellen nur noch für PoWders Smart
          Grüßle aus BW
          Ralph

          Kommentar


          • #6
            AW: Fahrzeugbreite


            und was ist damit??
            http://www.7-forum.com/bild.php?bild...ten.php?id1=89

            Hoffe der Link funktioniert Hier steht 1987 mmm
            Grüße aus dem Schwabenland
            Tatjana

            Kommentar


            • #7
              AW: Fahrzeugbreite

              Leider nicht
              Grüßle aus BW
              Ralph

              Kommentar


              • #8
                AW: Fahrzeugbreite

                Komisch

                Funktioniert der Anhang???
                Angehängte Dateien
                Grüße aus dem Schwabenland
                Tatjana

                Kommentar


                • #9
                  AW: Fahrzeugbreite

                  .. funktioniert beides

                  Das reicht doch aus.

                  Danke
                  Viele Grüsse

                  Willi

                  Kommentar


                  • #10
                    AW: Fahrzeugbreite

                    ja, aber die Frage ist jetzt: welche der beide Zeichnungen ist nun korrekt?
                    Schöne Grüsse aus Frankreich
                    Wendy

                    Kommentar


                    • #11
                      AW: Fahrzeugbreite

                      Hi nochmals,

                      ich habe ebenfalls noch ein altes Propekt und damit erschließt sich für mich, dass die "alten" X3 mit dem Nicht-EU-Spiegeln 1987mm breit ist.

                      Hurra, ich darf weiterhin auch mal links fahren:D in den Baustellen.

                      Wendy, beide stimmen: einmal alte einmal neue Spiegel.
                      Grüßle aus BW
                      Ralph

                      Kommentar


                      • #12
                        AW: Fahrzeugbreite

                        Was heißt denn Nicht-EU-Spiegel
                        Da meiner eine EZ in Stuttgart hat (NL der ) hat er EU Spiegel und ist über 2 m breit???

                        Müsste man doch mal nachmessen, nur wie? Mit Senkblei??
                        Grüße aus dem Schwabenland
                        Tatjana

                        Kommentar


                        • #13
                          AW: Fahrzeugbreite

                          Hi,

                          schau mal hier:

                          http://www.n24.de/news/newsitem_926526.html

                          Ich meine, dass die deutsche Autoindustrie 2009 begonnen hat, diese neuen Spiegel zu verbauen - wann das beim X3 dann ganz genau war, weiß ich nicht, aber man erkennt es deutlich.

                          Hier einer mit neuen (ich hoffe unsre User sind nicht böse)
                          http://x3-treff.de/showthread.php?t=6543


                          hier alter Spiegel:
                          http://x3-treff.de/showthread.php?t=5948
                          Zuletzt geändert von rübo; 31.03.2011, 16:42.
                          Grüßle aus BW
                          Ralph

                          Kommentar


                          • #14
                            AW: Fahrzeugbreite

                            Das is ja man wieder Super
                            Die wissen selber nich wie breit die Schüssel ist
                            Ich geb hier mal die Quelle an...

                            http://www.bmw.de/de/de/general/my_bmw/customers.html

                            "Mein BMW" BMW_X3_E83_ab_09-06

                            Schöne Grüße

                            Kommentar


                            • #15
                              AW: Fahrzeugbreite

                              Zitat von rübo Beitrag anzeigen
                              Hi nochmals,

                              ich habe ebenfalls noch ein altes Propekt und damit erschließt sich für mich, dass die "alten" X3 mit dem Nicht-EU-Spiegeln 1987mm breit ist.

                              Hurra, ich darf weiterhin auch mal links fahren:D in den Baustellen.

                              Wendy, beide stimmen: einmal alte einmal neue Spiegel.

                              ...hoffentlich weiss das dann auch der liebe Herr von der Trachtengruppe
                              im Zweifelsfall für's Staatssäckel

                              Edith meint, bei schönem Wetter mal die Fahrer & Beifahrerscheibe runterlassen
                              und mit nem entsprechend laaaangen Bandmaß von Spiegelaußenkante zur anderen messen

                              Schöne Grüße
                              Zuletzt geändert von 4x4=Xdrive; 31.03.2011, 17:08.

                              Kommentar

                              Lädt...
                              X